- The PRO-DPBP 380-EXT is a 2 x 6 resonator high quality Duplex Band Pass filter designed to combine the TETRA extended Tx and Rx band (2 x 6.5 MHz) to one common antenna.
 - The high performance filter design secures an improved isolation between the Tx and the Rx TETRA band. It is common used in high power Tetra base stations.
 - A pure silver-plating inside the filter ensures a very low PIM and insertion loss.
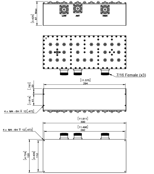
 - The filter uses reduced-length ¼ λ cavities in a compact strong aluminium housing.
 - The compact filter will fill in 2 HU in height, 142.5 mm in depth, in a 19" rack, when mounted on a 19" x 2 HU front plate.
 - When mounted in a 19” mounting tray, 300 mm in depth, the total height will be 3 HU.
 
Duplex FiltersPRO-DPBP 380-EXT
                                Duplex Band-Pass Filter, PIM rated, for the TETRA Public Safety/Mission Critical extended band                            
                            
                            
                                                    Description
Specifications
| Electrical | ||
|---|---|---|
                                                
  | 
                                        ||
                                                
  | 
                                        ||
                                                
  | 
                                        ||
                                                
  | 
                                        ||
                                                
  | 
                                        ||
                                                
  | 
                                        ||
                                                
  | 
                                        ||
                                                
  | 
                                        ||
                                                
  | 
                                        ||
                                                
  | 
                                        ||
                                                
  | 
                                        ||
                                                
  | 
                                        ||
                                                
  | 
                                        ||
| Mechanical | ||
|---|---|---|
                                                
  | 
                                        ||
                                                
  | 
                                        ||
                                                
  | 
                                        ||
| Environmental | ||
|---|---|---|
                                                
  | 
                                        ||
Ordering Designations
| Model | Product No. | Frequency | |
|---|---|---|---|
| PRO-DPBP 380-EXT-7/16(f) | 200002817 | 380 - 386.5 MHz / 390 - 396.5 MHz | 
                                    
